Toggle navigation
首页
精品软件
学习资料库
柒号仓库
陆号仓库
伍号仓库
肆号仓库
叁号仓库
贰号仓库
壹号仓库
会员
中心
登录
注册
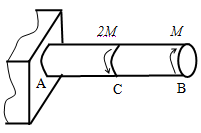
图示圆轴截面C左、右两侧的扭矩M
C1
和M
C2
的( )。
A、大小相等,正负号相同
B、大小不等,正负号相同
C、大小相等,正负号不同
D、大小不等,正负号不同
答案:
内容已经隐藏,点击付费后查看
请联系我
商务合作、广告投放、题目勘误、侵权投诉
QQ
微信
一体化
专科
两侧
图片
图示
工程力学
截面
扭矩
技术
机电一体化
推荐内容
结合材料回答问题: 材料1 1949年10月1日。 下午15时整,北京,天安门城楼。毛泽东向全世界庄严宣告:“中华人民共和国中央人民政府已于本日成立了!” 广场沸腾了!震天的欢呼直冲云霄,帽子、围巾甚至报纸在空中飞舞…… 身着深色旗袍的宋庆龄站在城楼上,看着眼前涌动的人潮,看着广场上矗立的孙中山画像,不禁热泪盈眶。8天后,她这样向世人讲述在天安门城楼的那一刻—— “连年的伟大奋斗和艰苦的事迹,又在我眼前出现。但是另一个念头抓住我的心,我知道,这一次不会再回头了,不会再倒退了。这一次,孙中山的努
如下图(a)所示,三棱镜ABC,∠A=30°.光线垂直AB面射入棱镜,由AC面射出.已知出射光与入射光的夹角为30°.在AC面上光线的入射角是____,棱镜的折射率是____.
光线平行于玻璃三棱镜底面的方向由空气入射到棱镜的侧面上,正确的光路图是( ).
设有一匀强磁场局限在图示的虚线范围内,磁感应强度为B,有一边长为L的正方形线圈abcd,其两边如图示那样,位于磁场中,线圈平面与磁场方向垂直,线圈中的电流为I,方向如图所示,则线圈受到的力的大小为____,方向为____.
评论列表
共有
0
条评论
暂无评论
发表评论
取消回复
登录
注册新账号
立即
投稿
发表
评论
返回
顶部
发表评论 取消回复